Электрооборудование настольно-сверлильного станка 2М112
- Электрооборудование сверлильного станка 2М112 рассчитано на питание от сети переменного трехфазного тока напряжением 380В, 50 Гц.
- В случае необходимости станок 2М112 с электрооборудованием может быть выполнен по особому заказу на напряжение 220В, 50 Гц.
- Пусковая и защитная аппаратура смонтированы в плите настольно-сверлильного станка 2М112.
Защита настольно-сверлильного станка 2М112
- Электрооборудование станка 2М112 защищается от коротких замыкании и перегрузок однополюсным автоматическим выключателем.
- Для предотвращения самозапуска электродвигателей применена нулевая защита с использованием контактов магнитных пускателей K1 и К2.
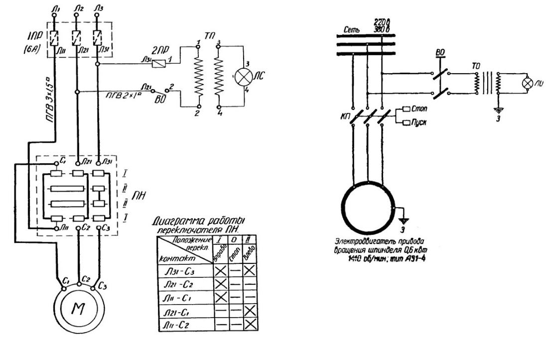
Принципиальная электрическая схема настольно-сверлильного станка 2М112

Спецификация покупного электрооборудования
| Обозначение по схеме | Наименование | Кол-во |
| QFI | Выключатель автоматический ВА47-2916А | 1 |
| КМ1, КМ2 | Контактор магнитный КМИ 11210 | 2 |
| М | Электродвигатель: | 1 |
| SB1 | Кнопка КЕ021 красн. | 1 |
| SB2 | Кнопка КЕ011 черн. | 1 |
| SB3 | Кнопка КЕ011 черн. | 1 |
Указания по подключению и обслуживанию электрооборудования сверлильного станка 2М112
- Станок настольно-сверлильный 2М112 должен быть присоединен к общей системе заземления цеха с помощью специального болта, расположенного на плите станка. Заземление станка и эксплуатация его электрооборудования должны производиться в соответствии с требованиями «Правил технической эксплуатации и безопасности обслуживания электроустановок промпредприятий».
- При обслуживании, наладке и ремонте электрооборудования станка 2М112 необходимо руководствоваться установленными правилами техники безопасности при электромонтажных работах. Доступ к контактным частям электрических машин и аппаратов разрешается только после отключения станка от сети автоматическим выключателем.
- Рекомендуется сделать вначале пробный пуск сверлильного станка 2М112 на холостом ходу на всех скоростях последовательно, начиная с наименьших оборотов шпинделя. В первый период после пуска станка не рекомендуется работать на максимальных оборотах шпинделя.
- Для обеспечения длительной и безаварийной работы сверлильного станка 2М112 необходимо регулярно:
- очищать от пыли, электродвигатель, пусковую и защитную аппаратуру,
- очищать от нагара контакты,
- подтягивать по мере необходимости соединения проводов с аппаратурой.
Соблюдение вышеупомянутых правил обеспечит длительную бесперебойную работу сврерлильного станка 2М112 и безопасность обслуживающего персонала
Первоначальный пуск настольно-сверлильного станка 2М112
- Перед первоначальным пуском станка 2М112 должны быть выполнены все указания, изложенные в разделах «Электрооборудование станка» и «Система смазки», относящиеся к первоначальному пуску.
- Затем делается пробный пуск на холостом ходу на всех скоростях последовательно, начиная с наименьших оборотов шпинделя. Убедившись в нормальной работе всех механизмов станка, можно приступить к его эксплуатации.
- В первый период после пуска настольно-сверлильного станка 2М112 не рекомендуется работать на максимальных оборотах шпинделя.
Обзор настольно-сверлильного станка ГС2112
Выпускаемая Гомельским заводом станочных узлов настольная модель ГС2112 ценится за надежность конструкции и двигателя, простоту кинематической схемы, компактность и возможность сверления заготовки под углом, ее характеристики нельзя назвать универсальными, но в своем классе она является одной из лучших. Она обычно продается в комплекте с устойчивой тумбой и устанавливается в частных слесарных и ремонтных мастерских, предприятиях с единичным производством мелких металлических деталей и в обучающих центрах. С условиями эксплуатации, преимуществами и ограничениями станка ГС2112 рекомендуется ознакомиться заранее, он находится в свободном доступе и поставляется в самых разных модификациях.
Данное оборудование относится к классу настольных моделей и используется с целью сверления, развертывания и зенкерования небольших деталей их черных и цветных металлов и их сплавов при диаметре получаемых или обрабатываемых отверстий в пределах 12 мм. Для рассверливания и накатки резьбы в базовом исполнении ГС2112 не подходит (в отличие от модификации ГС2112К с резьбонарезным патроном), в целом модель рассчитана на выполнение операций в условиях единичного производства, ее оптимальной областью применения являются частные ремонтные и слесарные мастерские. Среди альтернативных вариантов использования также выделяют установку этих моделей на местах обучения с политехнической направленностью.
Технические характеристики
Работать своими руками с вертикально расположенными станками, предназначенными для сверления, заточки, развертывания отверстий довольно просто. Бытовые модели отлично подходят для домашнего применения. Их двигатель обеспечивает необходимую мощность и скорость вращения.
Чтобы грамотно подобрать вертикально сверлильный агрегат для заточки и прочих операций, необходимо обратить внимание на несколько его основных характеристик. Большинство моделей вертикально сверлильных станок имеют ремень на 3-5 ступенчатых шкивах
С его помощью регулируется частота вращения шпинделя станка. Это играет важнейшую роль для достижения нужного результата обработки материала. При этом самыми значимыми характеристиками при покупке компактного вертикально сверлильного станка для развертывания, зенкерования и заточки являются:
Большинство моделей вертикально сверлильных станок имеют ремень на 3-5 ступенчатых шкивах. С его помощью регулируется частота вращения шпинделя станка. Это играет важнейшую роль для достижения нужного результата обработки материала. При этом самыми значимыми характеристиками при покупке компактного вертикально сверлильного станка для развертывания, зенкерования и заточки являются:
- Максимально допустимое перемещение шпинделя. От этого зависит, какие заготовки сможет обрабатывать маленький вертикально сверлильный станок и насколько комфортно будет с ним работать.
- Мощность привода. Двигатель станка по дереву может быть менее мощным, чем двигателя для агрегата по металлу. Бытовые модели самые маломощные. Но если вы планируете работать по дереву, пластику, металлу, желательно выбирать двигатель с запасом мощности.
- Расстояние между столом и шпинделем. Определяет предельно допустимые размеры обрабатываемых заготовок. Для заточки, работы по металлу и дереву это играет заметную роль, потому постарайтесь своими руками принять правильное решение.
- Размеры стола. Существуют как мини вертикально сверлильные станки, так и просто компактные. Первые служат для обработки мельчайших деталей, микросхем. Бытовые компактные позволяют работать с более крупными изделиями. Отсюда и разница в размерах стола. Хотя некоторые делают стол своими руками. Самодельный агрегат полностью адаптируется под требования конкретного мастера. Потому самодельный станок имеет полное право на свое существование.
Пытаться соорудить самодельный агрегат своими руками, покупать недорогой советский станок или же купить бытовые заводские модели? Выбор целиком и полностью за вами. Скажем только, что соорудить самодельный станок своими руками — задача не из простых. Потому большинство выбирает готовые бытовые устройства для работы по металлу, пластику, дереву и пр.
Стоит ли строить самодельный станок? Если опыта нет, самодельный агрегат изготовить будет невозможно. Плюс самодельный аппарат не может отвечать всем требованиям безопасности и нюансам эксплуатации. Потому если стоит выбор самодельный или заводской, рекомендуем выбрать второй вариант.
Устройство
Одним из важных преимуществ сверлильного станка является его простая и надежная конструкция. Она пережила несколько модернизаций, но сохранила ряд важных составных элементов.

Современный станок 2М112 – это массивная стальная колонна с рабочим столом внизу и горизонтальным кронштейном вверху. Спереди на кронштейне установлена вертикально перемещающаяся шпиндельная бабка, а сзади приводной двигатель.
Вал силового агрегата соединен со шпиндельным модулем приводным ремнем (клиноременная передача), и весь привод защищен литым металлическим кожухом. Вал мотора комплектуется шкивом с пятью ступенями установки ремня (шлицы), что позволяет регулировать скорость вращения шпинделя при работе с деталями из разных материалов.
Шпиндельная бабка – это инструментальная подвижная головка с вращающимся шпинделем (пинолью). Она снабжена механизмами фиксации на кронштейне и перемещения по кронштейну (вперед-назад), а также механизмами подачи шпинделя (вверх-вниз) и натяжения приводного ремня (регулирует расстояние между передающим и приемным шкивами), управление которыми выполняется с помощью рукоятей.
Для регулировки положения рабочего стола, который представляет собой массивную упорную плиту из инструментальной стали с Т-образными пазами, также используется механизм с рукоятью. Для точного управления движением шпиндельной бабки и глубиной сверления на инструментальной головке установлен хомут с плоской мерной насечкой.
Шпиндель смонтирован в специальной гильзе с двумя шарикоподшипниками, а его зажимное устройство (конус Морзе) регулируется поворотной головкой с фиксатором, что дает возможность быстро устанавливать и менять сверла разных размеров для сверления отверстий требуемой глубины и диаметра.
Для подсветки рабочей зоны станка на корпусе крепится электрическая лампа. Запуск электропривода выполняется кнопкой пуска, которая расположена на корпусе станочной колонны.
Кроме того, в работе со станком можно использовать дополнительное оборудование: опорную тумбу (при торцевой обработке деталей с диаметром до 120мм), крестовой стол для сверхточного сверления, сменную револьверную головку, тиски для надежного закрепления деталей на рабочем столе и узел охлаждения для выполнения длительного сверления сверхтвердых материалов.
Что включает в себя электрическая схема устройства
Такая характеристика станка данной модели, как легкость в использовании и ремонте, определяется в том числе простотой электрической схемы. Элементами электрической схемы сверлильного станка НС-12, отвечающими за управление оборудованием, являются кнопка «Пуск», при нажатии на которую запускается приводной электродвигатель, и кнопка «Стоп», при помощи которой электродвигатель отключается.
Характеристики сверлильного станка предусматривают наличие местного освещения, включаемого при повороте ручки соответствующего пакетного выключателя. Для работы системы местного освещения требуется использование понижающего трансформатора, который монтируется в непосредственной близости от станка.

Схема электрическая станка НС-12А (слева) и станка НС-12Б (справа) (нажмите для увеличения)
Выполняя монтаж станка НС-12 после его приобретения или ремонта, следует обязательно позаботиться о заземлении, что сделает эксплуатацию устройства безопасной и исключит риск поломки из-за короткого замыкания.
Местом установки сверлильного станка данной модели с учетом его небольших габаритов являются преимущественно столы или верстаки. При этом они должны быть достаточно надежными, чтобы обеспечить высокую устойчивость станка в процессе выполнения технологических операций.
НС-12 станок сверлильный настольный Описание, характеристики, схемы
Разработчик настольно-сверлильного станка модели НС-12 — Специальное конструктрское бюро специальных станков СКБ-3, г. Одесса
— 1947. 90-е годы.
Станок производился станкостроительными заводами и несколькими ремесленными и техническими училищами Советского Союза в 50..70-х годах прошлого века.
Настольный сверлильный станок НС-12 имеет несколько модификаций (НС-12, НС-12А, НС-12Б, НС-12М), которые незначительно отличаются друг от друга по конструкции и комплектации.
Сверлильные станки. Общие сведения.
Синонимы: drilling machine, bench type drilling machine, centre drilling machine, co-ordinate drilling machine, radial drilling machine, deep drilling machine, multi spindle drilling machine, centre drilling machine
Сверлильные станки предназначены для сверления, зенкования, зенкерования, развертывания отверстий, для подрезания торцов изделий и нарезания резьб метчиками. Применяются они в основном в единичном и мелкосерийном производстве, а некоторые модификации этих станков — в условиях массового и крупносерийного производства.

Кинематические связи вертикально-сверлильного станка
Основными формообразующими движениями
при сверлильных операциях являются: главное — вращательное движение v и движение подачи s шпинделя станка. Кинематические цепи, осуществляющие эти движения, имеют самостоятельные органы настройки i v и i s . посредством которых устанавливается необходимая скорость вращения инструмента и его подача.
Основными параметрами станка
являются наибольший диаметр сверления отверстия по стали, вылет и максимальный ход шпинделя.
Сверлильные станки подразделяются на
-
Станки сверлильные настольные
служат для обработки отверстий диаметром до 16 мм (например, в приборостроении). Настольные станки строят для наибольшего условного диаметра сверления отверстий в стальных деталях (σ в = 500 ÷ 600 Мн/м2) 3; 6; 12 и 16 мм. -
Станки вертикально-сверлильные (колонные)
служат для обработки отверстий диаметром — 18; 25; 35; 50 и 75 мм, используются для получения отверстий в деталях относительно небольшого размера в условиях индивидуального и мелкосерийного производства, в ремонтных цехах и т. п. -
Станки радиально-сверлильные
для обработки тяжёлых и крупногабаритных деталей. Вылет радиально-сверлильных станков составляет 1300 ÷ 2000 мм. -
Станки координатно-сверлильные
предназначены для обработки отверстий в кондукторах, приспособлениях и деталях, для которых требуется высокая точность взаимного расположения отверстий. Наряду с растачиванием на станках могут выполняться сверлильные операции, чистовое фрезерование, разметка и проверка линейных размеров, в частности межцентровых расстояний. - Станки сверлильно-фрезерные комбинированные
-
Станки для глубокого сверления
(горизонтально-сверлильные) обычно используют при обработке глубоких отверстий (например, в осях, валах, стволах стрелковых и артиллерийских систем и т. п.). -
Станки центровальные
служат для получения в торцах заготовок центровых отверстий. -
Станки сверлильные многошпиндельные
служат для одновременной обработки (главным образом сверления) нескольких отверстий.
В промышленности наибольшее распространение получили вертикально-сверлильные и радиально-сверлильные станки.
Станок сверлильный настольный 2М112. Видеоролик.
Привет друзья. Сегодня у нас сверлильный станок 2м112, который был спасён из металлоприёмки в виду его достойного состояния, а именно отсутствие люфта в шпинделе. Займемся его восстановлением. Начнем с механизма ручной подачи шпинделя. Он крепится к валу-шестерне с помощью фиксирующего болта. Открутив болт, снимаем рукоятку. Да! Это ж каким нужно быть варварам, чтобы так издеваться над станком. Сами ручки, которые должны вкручиваться в корпус, наглухо приварены. Да и не ручки это, а огрызки такого-то прутка. Варвары. Зажимаем в тиски и срезаем нахер всё это дело болгаркой. Будем делать нормальные ручки, ибо на исправном станке приятно работать, это факт. После того как отрезали, удаляем остатки сварки лепестковым кругом зернистостью 60. Также можно применить зачистной круг, но поверхность после обработки будет грубее. Зачищать нужно до тех пор, пока на месте сварки не появится полная окружность. Это нужно для того, чтоб ничего не держало оставшийся кусочек. Если по краям останется сварка, то выкрутить его будет то ещё занятие.
Накернил углубление в центре и прошёл сверлом 4 мм, потом попробовал 8 мм, и здесь мне на глаза попалось левое сверло диаметром 5 мм. Часто бывает, что при сверлении этими сверлом его закусывает и обломившийся кусочек сам выкручивается. Мне повезло, и таким методом я выкрутил все три заломыша. Далее, подправим деталь всё тем же лепестковым кругом, убирая сопли от сварки и выравнивая поверхность. Осталось изготовить ручки. Для них, как нельзя кстати, подошли штоки от амортизаторов. Они диаметром 11 мм, а резьба нужна М10. Зажимаем пруток в патрон токарного и протачиваем конец заготовки до диаметра 10 мм, длина проточки около 15 мм. Мне напечатали на 3D принтере шарики. У них есть центральное отверстие под резьбу М8.
Хватаем метчик и нарезаем внутреннюю резьбу. Здесь важно не переусердствовать, а то можно выдавить верхнюю часть шарика
Резьба нарезается от руки, ничего никуда зажимать не нужно. С другой стороны протачиваем заготовку до диаметра 8 мм и длиной примерно 10-12 мм. Как же это круто выточить то, что тебе нужно. Не надо часами искать в ящиках нужную тебе хреновину и допиливать её болгаркой и напильником. Красота. Обязательно в начале делаем фаску для лучшего захода лерки. Как-то так это выглядит. Теперь нарезаем резьбу не забывая капнуть масла. Режем по пол оборота вперёд и немножко назад, этим самым обламывает стружку. Когда резьба нарезана на неё без проблем накручивается шарик. Такую процедуру нужно повторить для двух оставшихся прутков. В итоге имеем вот такую рукоятку. Жаль что один шток оказался потёртым и это немного портит вид, ну подвернется подходящий, переделать не долго.
Ещё одна проблема после криворуких мастеров — это гайка перемещение шпиндельной бабки по колонне. Здесь рукоятки так же тупо приварены к гайке. Блин, ну как так то, а! В этом узле стоит упорный подшипник для предотвращения трения между гайкой и бабкой. Закрывает его металлическая крышка, которую так же умудрились прожечь сваркой. Хорошо что хоть одна ручка не приварена, есть шанс её выкрутить. Перемещаемся в тиски и срезаем все выступающие части, стараясь не задеть защитную крышку. Все эти процедуры занимают дичайшие количество времени и сил.
Технические характеристики
Схема станка 2м112
Приобретая станок, перед его покупкой следует обязательно изучить технические характеристики.
Если вы хотите оснастить небольшой производственный цех или домашнюю мастерскую, вертикально сверлильные устройства типа 2м112, 2н112, гс2112 великолепно для этого подойдут. Это обусловлено тем, что паспорт оборудования предлагает отличные технические характеристики, недорогие запчасти, простую эксплуатацию и самостоятельный ремонт при необходимости.
Говоря про технические характеристики, вам следует знать о 2м112 следующее:
- Подключение электродвигателя осуществляется к сети с напряжением 220 В. Это объясняет возможность применения станка в домашних условиях;
- Бабка, которой оснащается шпиндель, монтируется в корпус из чугуна. Материал обеспечивает снижение колебаний, который возникают, когда вы проводите ремонт или производите что-либо с помощью оборудования;
- Как указывает паспорт, размеры составляют 79,5 на 37 на 95 сантиметров;
- Вес вертикально сверлильного агрегата — 120 кг. Это вполне немного, чтобы иметь возможность перемещать оборудование;
- Станок не требует дополнительной фиксации, поскольку центр тяжести расположен внизу;
- Оборудование позволяет использовать сверла с максимальным диаметром 12 мм;
- Шпиндель и рабочий стол получили расстояние между собой в настраиваемых пределах 0-40 сантиметров;
- Расстояние между вертикальной осью шпинделя и стойкой составляет 190 миллиметров;
- Стол станка имеет ширину 25 сантиметров;
- Паспорт утверждает, что гильза шпинделя имеет ход 10 см;
- Шпиндель может вращаться со скоростью 450-4500 оборотов за минуту;
- Количество скоростей на агрегате — 5;
- Мощность электродвигателя составляет 550 Вт.
Читать также: Резка по дереву на заказ
Нюанс станка 2м112 заключается в том, что механизма обеспечения охлаждающей жидкостью при сверлении не предусмотрено конструкцией
Это важно учитывать, если шпиндель планируется направлять к особо твердым сортам стали
Также недостатком оборудования можно назвать тот факт, что конструкцией не было предусмотрено освещение рабочего стола. Потому при оснащении домашней мастерской или цеха, обязательно подумайте о покупке дополнительных осветительных устройств или придумайте собственную систему освещения.
Настольно-сверлильный станок гс 2112: устройство,схемы,характеристики
Обратите внимание!
Использовать рукоятку вертикального перемещения шпиндельной бабки можно только после ее разжима на колонне.
Кинематическая схема настольно-сверлильного станка гс 2112

Сверлильный станок гс2112 имеет три кинематические цепи:
- Главное движение-вращение шпинделя;
- Вспомогательное движение – ручная подача шпинделя и перемещение шпиндельной бабки по колонне.
Главное движение – вращение шпинделя осуществляется от электродвигателя через клиноременную передачу.
Ручная подача осуществляется при помощи рукоятки штурвального устройства,вращательное движение через шестерню 3 передается на рейку 4 пиноли шпинделя.
Осевое перемещение шпиндельной бабки осуществляется при помощи вращения рукоятки 9, которая через поводки 5 и 6 передается винтовой паре 7 ,8.
Электрическая схема настольно-сверлильного станка гс 2112

К сверлильному станку в обязательном порядке должна быть проведена глухо заземлённая нейтраль для питания цепи управления.
Работу станка выполнять в следующем порядке:
- Включить автоматический выключатель QF;
- Нажатием кнопки SB2, включить вращение шпинделя
Для остановки или аварийного выключения станка служит толкатель кнопки SB1 или автоматический выключатель QF.
Шпиндель настольно сверлильного станка гс2112
Шпиндель предназначен для передачи крутящего момента режущему инструменту, закрепленного в патроне на конусе Морзе. Шпиндель устанавливается в гильзе на шарикоподшипниках.
Зубчатое колесо штурвального устройства находится в постоянном зацеплении с зубчатой рейкой гильзы.
На валу штурвального устройства расположенная спиральная пружина, предназначенная для предотвращения самопроизвольного опускания.
Техническая характеристика настольно-сверлильного станка гс 2112
| Основные параметры | гс 2112 |
|---|---|
| Наибольший диаметр сверления,мм | 12 |
| Расстояние от оси шпинделя до образующей колонны,мм | 190 |
| Наибольший ход шпинделя,мм | 100 |
| Наибольший ход шпиндельной бабки, мм | 250 |
| Размеры рабочей поверхности плиты,мм: | |
| ширина | 250 |
| длина | 250 |
| Количество скоростей шпинделя | 5 |
| Пределы чисел оборотов шпинделя,об/мин | 450,800,1400,2500,4500 |
| Габаритные размеры станка,мм: | |
| длина | 780 |
| высота | 982 |
| ширина | 420 |
| Масса станка,кг | 100 |
Безопасность при работе с оборудованием и обслуживание
При эксплуатации сверлильного станка 2М112 следует соблюдать ряд обязательных требований техники безопасности:
- Все подвижные узлы и регулируемые модули имеют жесткие зажимы, исключающие произвольное смещения настроенных положений шпиндельной бабки. Однако перед началом работы их следует проверять на исправность и надежность.
- Запускать двигатель станка следует после надежного закрепления сверла в гильзе шпинделя, а заготовки – в пазах рабочего стола или тисках. Инструментальная головка должна быть закреплена в верхнем положении.
- Станок перед работой должен быть обязательно заземлен (рекомендации по заземлению ищите в паспорте изделия и инструкциях производителя).
- Не следует использовать сверла, которые не соответствуют указанным в рекомендациях производителя параметрам.
- Оператор станка должен работать в спецодежде и защитных очках, чтобы избежать ожогов и повреждений кожи и глаз металлической стружкой.
Работы по техническому обслуживанию должны выполнять как сами операторы сверлильного станка, так и мастера-технологи в соответствии с картой техобслуживания.
Техническое обслуживание – несложный комплекс работ, так как конструкция станка 2М112 проста и надежна, содержит небольшое количество подвижных узлов (требуется минимальная смазка). Тем не менее, следует помнить что:
Место работы до начала сверления и по завершении рабочих операций необходимо очищать от стружки и пыли.
Все рабочие узлы и фиксаторы управляющих механизмов необходимо проверять перед началом работы (ременные передачи, подшипники, муфты, поворотные механизмы)
При необходимости, узлы следует сразу отрегулировать.
Обязательное внимание перед каждым рабочим циклом следует уделять уровню натяжения ремня шкива двигателя и прочности фиксаторов конуса Морзе, чтобы исключить сбой вращения, перегорание двигателя и случайный вылет сверла из зажима.
Смазывать узлы станка следует регулярно и только качественными смазками (машинное масло и солидол, литол – для подшипников)
Важно не забывать менять смазку подшипников в патроне шпинделя не реже одного раза в полгода. При частой смене скоростных режимов двигателя, следует регулярно смазывать регулятор натяжения ремня и фиксаторы шпинделя, а сам шпиндель при постоянной рабочей нагрузке требует чистки и смазки не реже одного раза в два дня
Смазывать узлы станка следует регулярно и только качественными смазками (машинное масло и солидол, литол – для подшипников)
Важно не забывать менять смазку подшипников в патроне шпинделя не реже одного раза в полгода. При частой смене скоростных режимов двигателя, следует регулярно смазывать регулятор натяжения ремня и фиксаторы шпинделя, а сам шпиндель при постоянной рабочей нагрузке требует чистки и смазки не реже одного раза в два дня






























