Предназначение и устройство
Если кто-то из читателей помнит, то мы касались работы дифференциала, тоже принимающего участие в работе с крутящим моментом. В отличие от него, редуктор не перераспределяет этот момент, а предназначен для его понижения или повышения. На каждой ведущей оси расположен свой редуктор — поэтому они называются передний и задний.
Изготавливается данное устройство из стальных сплавов, которые отличаются высокой прочностью и могут гарантировать длительную эксплуатацию в неблагоприятных условиях.
В заднем редукторе предусматривается ведущая соединенная с карданным валом и ведомая шестерни. У каждого редуктора одним из основным параметров является передаточное число. При этом, в легковых машинах оно традиционно ниже, чем в коммерческом транспорте. Для того, чтобы понять суть передаточного числа, достаточно представить себе количество зубьев у ведомой и ведущей шестеренок. Само число означает, сколько раз ведомая может провернуться за 1 оборот ведущей.

Корпуса редукторов
Цилиндрический редуктор при его серийном производстве снабжается, как правило, литым корпусом стандартизованного размера с использованием литейного чугуна или литейных сталей. Спецификация на эти материалы приведена в соответствующих регламентирующих отраслевых документах и ГОСТ. В тех случаях, когда требуется получить конструкцию небольшого веса, применяют корпуса из легких сплавов.

При штучном производстве чаще всего используют корпуса сварные, что позволяет реализовывать конструктивные решения, расчет и проектирование которых проводились по индивидуальному заказу.
Это интересно: Инструкция по тюнингу ГБЦ
На корпусах редукторов, как правило, имеются места для крепления в виде «ушей» и/или «лап», с помощью которых их можно передвигать и крепить по месту установки, используя сборочный чертеж на автомобиль. На выходной части валов устанавливают уплотнения для того, чтобы исключить вытекание масла. С внешней стороны корпуса редукторов могут иметь дополнительные конструкционные элементы, препятствующие увеличению внутреннего давления редуктора, которое может возникать при его нагреве в процессе работы.
Небольшой обзор лучших производителей
Современный отечественный рынок способен предложить огромный ассортимент водорегулирующих устройств от различных фирм-производителей. Большинство из них за все время продаж зарекомендовали себя как качественные и компетентные продавцы. Прежде всего, к таковым относят:
«Вальтек» — компания родом из Италии с официальным российским представительством. Ее процессы выпуска оборудования полностью автоматизированы, что уменьшает риск человеческой ошибки. Технический контроль новых моделей осуществляется в собственной испытательной лаборатории;
«Ханивелл» — германский концерн, успешно осваивающий российский рынок уже более 45 лет. Получил заслуженную популярность благодаря использованию инновационных разработок в области инженерных коммуникаций, энергоресурсов и индустриальных задач;
«ИСМА» — еще один итальянский представитель, производственные ресурсы которого полностью находятся на родине. Специализируется на производстве оборудования для задач водообеспечения, вентиляции и отопления, а также кондиционирования
Особое внимание в производственном процессе уделяется качеству сырья и материалам изготовления;
«Аквасфера» — представитель отечественного производителя, специализирующийся на продаже/изготовлении предохранительной/запорной арматуры для водопроводных систем. Также способен предложить качественные фитинги, трубы и фильтры
Имеет развернутую дилерскую сеть по всей России;
«Воттс» — североамериканская компания, имеющая множество филиалов по всему миру. Производство ориентировано на выпуск оборудования для промышленных целей в области очистки, контроля и потребления водных ресурсов. Несмотря на свою индустриальную ориентированность, ассортиментный ряд также включает в себя и оборудование для бытовых нужд.
Червячный редуктор
Редуктор червячный — один из классов механических редукторов. Редукторы классифицируются по типу механической передачи. Редуктор называется червячным по виду червячной передачи, находящейся внутри редуктора, передающей и преобразующей крутящий момент. Винт, который лежит в основе червячной передачи, внешне похож на червяка, отсюда и название. Червячный редуктор может быть с одной или более механическими планетарными передачами.
В червячном редукторе увеличение крутящего момента и уменьшение угловой скорости выходного вала происходит за счет преобразования энергии, заключенной в высокой угловой скорости и низком крутящем моменте на входном валу.
Двигатель со встроенным червячным редуктором называют червячным мотор-редуктором.
Наиболее распространены одноступенчатые червячные редукторы. При больших передаточных числах применяют либо двухступенчатые червячные редукторы, либо комбинированные червячно-зубчатые или зубчато-червячные редукторы. В одноступенчатых червячных редукторах червяк может располагаться под колесом, над колесом, горизонтально сбоку колеса и вертикально сбоку колеса. Выбор схемы червячного редуктора определяется требованиями компоновки. Червячные редукторы с нижним расположением червяка применяют при v
1 <� 5 м/с, с верхним — приv 1 > 5 м/с. В червячных редукторах с боковым расположением червяка смазка подшипников вертикальных валов затруднена.
В червячных редукторах для повышения сопротивления заеданию применяют более вязкие масла, чем в зубчатых редукторах. При скоростях скольжения V
ск <� 7…10 м/с смазку червячных передач редукторов осуществляют окунанием червяка или колеса в масляную ванну. При нижнем расположении червяка уровень масла в ванне должен проходить по центру нижнего шарика или ролика подшипника качения, а червяк должен быть погружен в масло примерно на высоту витка. Если уровень масла устанавливают по подшипникам и червяк не окунается в масло, то на валу червяка устанавливают маслоразбрызгивающие кольца (крыльчатки), которые и подают масло на червяк и колесо. В червячных редукторахV ск <� 7…10 м/с применяют циркуляционно-принудительную смазку, при которой масло от насоса через фильтр и холодильник подаётся в зону зацепления.
Процесс проектирования одноступенчатого цилиндрического редукторов
Перед тем как приступать к изготовлению этого устройства производится проектный расчет:
- подбора материалов;
- выбор максимально допустимого напряжения на качение;
- вычисление чистого полезного кручения вала.
В рамках произведения работ осуществляется подготовка эскизной компоновки редуктора.
Расчет размеров валов этого устройства производится в 2 этапа:
- приблизительный подсчет количества оборотов чистого кручения;
- точный расчет прочностных показателей напряжения изгиба и кручения.
Для производства подобных агрегатов рекомендуется использовать термически обработанную легированную сталь. Расчет валов при составлении проекта осуществляется в зависимости от напряжения кручения, концентрации напряжения, его циклов
Если планируется установка валов быстрого хода, то для расчета берутся во внимание меньшие значения, тихого хода — большие
Для достижения сбалансированности и соосности расположения разнообразных элементов этого устройства разрабатываются кинематические схемы одноступенчатых редукторов. Они представляют собой изображения в разных разрезах корпуса и деталей, из которых состоит редуктор, отражают их взаимное расположение, пропорции, места сопряжения и т.д.
Компоновка одноступенчатого редуктора может быть разной. Он может иметь дополнительные, существенно улучшающие его работу элементы. Например, масляный насос, который осуществляет принудительную смазку в местах, куда не попадает жидкость при вращении маховика звездочки или в редукторе червячного типа.
Создать такое устройство можно и самому, но для этого потребуется приобрести необходимые запасные части. Важным элементом редуктора, который влияет на его характеристики, является корпус и размер звёздочек, диаметр червячного механизма. Для человека, не имеющего в этом деле опыта, потребуется терпение и усердие, но достичь желаемой цели — создать редуктор с необходимыми параметрами все же можно.
Сборка устройства в этом деле является самой легкой работой, а самой ответственной и сложной — это проектирование и подбор необходимых элементов, запасных частей и деталей.

Цилиндрический редуктор — механическое устройство, предназначенное для снижения скорости вращения и увеличения крутящего момента на выходном валу. Применяется в электрических, пневматических и гидравлических приводах промышленного оборудования различного назначения. Считается одним из самых распространенных типов редукторов, отличается высоким КПД и простотой конструкции передач.
Виды редукторов
Данные устройства отличаются по типу передачи крутящего момента.
- Червячные редукторы. Передаточная система этих устройств содержит червячную передачу, которая позволяет не только значительно уменьшить обороты рабочего вала, но и изменить направление вращения. Вал редуктора на выходе устройства, обычно расположен под прямым углом по отношению к входному валу. Такая особенность червячных устройств позволяет наиболее компактно разместить двигатель совместно с передающим крутящий момент механизмом. Передаточное число редуктора этого типа может быть до 1 к 100 и более;
- Зубчатые редукторы. Зубчатые механизмы трансформации крутящего момента, часто применяются в агрегатах, в которых необходимо осуществить различное соотношение передаточного числа между входным и выходным валом. Устройство редуктора этого типа может выполнено с одним передаточным механизмом, или с использованием нескольких шестерён при значительном передаточном соотношении. Зубья, в таких устройствах, могут иметь различную форму, но качество обработки таких деталей должно быть наивысшим;
- Гидравлические редукторы. Такие устройства устанавливаются между насосом и гидравлическими механизмами. Используется гидравлический редуктор с той же целью, что и механические — для уменьшения передаваемой энергии или частоты вращения;
- Мотор-редуктор. Эта система также используется для трансформации крутящего момента и представляет собой объединённый в одном корпусе редуктор и двигатель. Наиболее часто встречаются мотор-редукторы, работающие на электрической тяге. В этом случае удаётся значительно уменьшить размер редуктора и увеличить КПД устройства;
- Планетарные редукторы. Передающая система и схема редуктора планетарного типа, представляет собой разновидность зубчатого механизма, но благодаря оригинальности применяемого способа передачи крутящего момента может считаться отдельным видом. Такие механизмы компактны и очень надёжны в эксплуатации, но требуют точного расчёта при производстве. Зубья планетарных редукторов должны находиться в плотном зацеплении между собой, но легко приводиться в движение.
Рабочие части редукторов, обязательно должны работать в смазке, для снижения коэффициента трения и потери мощности. Способ нанесения смазочных материалов зависит от вида редуктора и мощности передаваемой энергии. Если передаточная система не работает в условиях повышенных скоростей вращения, то достаточно однократного нанесения смазки на рабочие поверхности в течение всего срока эксплуатации. Для мощных устройств применяется специальная система принудительной подачи смазочной жидкости, с последующим охлаждением и очисткой.
Изделия неразборного вида, как правило, работают при незначительных мощностных показателях и в тех сферах, где не требуется эксплуатации устройства в жёстких режимах. Редукторы, которые используются для трансформации больших мощностей располагаются в корпусе разборной конструкции, которая позволяет, в случае необходимости, осуществить плановый или экстренный ремонт и настройку механизма.
Корпус редуктора может быть изготовлен из различных материалов. Подбор материала зависит от условий эксплуатации и мощности устройства. Редуктор для маломощных устройств бытового назначения может быть сделан из высокопрочного пластика или алюминиевого сплава.
Червячный тип редукторов
К этой категории относятся червячные, червячно-цилиндрические механизмы. Главный тип передачи в устройствах – червячный, который раннее называли зубчато-винтовым. Момент силы передается при зацеплении зубчатого колеса и трапецеидального винта (червяка). Производят изделия из устойчивых к износу материалов. В промышленности часто используют 3 вида червячных редукторов:
- однозаходные;
- двухзаходные;
- четырехзаходные.
Количество каналов резьбы на механизме определяет число заходов. В устройствах червячного типа винт зацепляется с одноименным колесом, которое по форме напоминает зубчатое. Зубья на нем заменены на резьбу, которая по форме подходит к трапецеидальному винту. В червячных устройствах, предназначенных для передачи большого крутящегося момента, колеса установлены из разных материалов. Для колесных ступиц используют чугун или из недорогой марки стали, а зубья изготавливают из антифрикционных материалов.
Самый значительный плюс применения редукторов червячного вида – высокая эффективность. Их устанавливают в оборудование, в котором большой момент силы, а угловая скорость маленькая. Основным движущим элементом механизма является трапецеидальный винт. Он начинает двигаться при вращении выходного вала.
Червячные редукторы
Червячные редукторы получили большую популярность в виду своей простоты и достаточно низкой стоимости. Из всех видов червячных редукторов наиболее распространены редукторы с цилиндрическими или глобоидными червяками. Как и многие другие типы редукторов червячные могут состоять из одной или нескольких ступеней. На одноступенчатом редукторе передаточное отношение может быть в пределах 5-100, а на двух ступенях может достигать 10000. Основными достоинствами редукторов червячного типа являются компактные размеры, плавность хода и самоторможение. Из недостатков можно отметить не очень высокий КПД и ограниченная нагружаемая способность. Основными элементами являются зубчатое колесо и цилиндрический червяк. Цилиндрический червяк представляет собой винт с нанесенной на его поверхности резьбой определенного профиля. Число заходов зависит от передаточного отношения, и может составлять от 1 до 4. Вторым основным элементом редуктора является червячное колесо. Оно представляет собой зубчатое колесо из сплава бронзы, количество зубьев также зависит от передаточного отношения и может составлять 26-100.
В ниже приведенной таблице представлена зависимость передаточного отношения от количества зубов колеса и заходов винта.
| Передаточное отношение | Число заходов червяка | Число зубов колеса |
| 7-8 | 4 | 28-32 |
| 9-13 | 3-4 | 27-52 |
| 14-24 | 2-3 | 28-72 |
| 15-27 | 2-3 | 50-81 |
| 28-40 | 1-2 | 28-80 |
| 40 | 1 | 40 |
Кинематические схемы одноступенчатых червячных редукторов представлены ниже:

А) Редуктор с нижним расположением червяка
Б) Редуктор с верхним расположением червяка
В) Редуктор с боковым расположением червяка (ось червяка расположена горизонтально)
Г) Редуктор с боковым расположением червяка (ось червяка расположена вертикально)
Редукторы червячные двухступенчатые позволяют получить моменты в диапазоне 100 – 2800Нм. Конструкция представляет собой жесткую скрутку двух редукторов. Между собой редукторы соединены с помощью фланца. Цилиндрический вал первой ступени установлен в полый вал второй ступени.
Вариант расположения червячных пар представлен на рисунке ниже:

Расположение входного и выходного вала зависит от варианта сборки. Существуют следующие сборки: 11, 12, 13, 16, 21, 22, 23, 26.

Устройство и принцип работы
Конструкция мотор-редуктора представляет собой соединенные в единый блок механический редуктор и электрический двигатель. Благодаря этому, в технологической установке требуется закладывать одно место установки, вместо двух. Также не придется обеспечивать сносность валов двигателя и редуктора, подбирать и монтировать муфту, передающую вращение. Общая конструкция мотор-редуктора имеет некоторые отличия от раздельных вариантов. Корпус передачи изготавливается с необходимым запасом прочности, обеспечивающим надежное функционирование устройства с закрепленным тяжелым мотором. Для монтажа двигателя на корпусе выполняются специальные посадочные места. В конструкции ведущей шестерни редуктора предусматриваются цилиндрические отверстия, используемые для установки вала приводного мотора. На корпусе дополнительно предусматривают элементы крепления для монтажа мотор-редуктора в технологическую установку. В качестве электропривода мотор-редуктора допускается применять любые типы электродвигателей. Наиболее часто встречаются модели, использующие стандартные асинхронные электродвигатели. Для реализации моноблочного исполнения выбирают модели фланцевого типа.
Принцип действия мотор редуктора не отличается от работы классического редукторного электропривода. Момент вращения двигателя передается на ведущую шестерню, фактически установленную на валу мотора. Благодаря зубчатому зацеплению, вращающий момент преобразуется одним или несколькими ведомыми элементами, которые в свою очередь оказывают воздействие на вал технологического механизма.
Выходная скорость вращения зависит от параметров двигателя и передаточного отношения редуктора. Для получения повышенного коэффициента преобразования используются многоступенчатые модели. При необходимости коррекции скорости, мотор-редукторы легко интегрируются в системы с регулировкой оборотов посредством управляемых преобразователей.
Принцип работы газовых редукторов
Принцип действия редуктора определяется его характеристикой. У редукторов прямого действия — падающая характеристика, то есть рабочее давление по мере расхода газа из баллона несколько снижается, у редукторов обратного действия — возрастающая характеристика, то есть с уменьшением давления газа в баллоне рабочее давление повышается.
Редукторы различаются по конструкции, принцип действия и основные детали одинаковы для каждого редуктора.

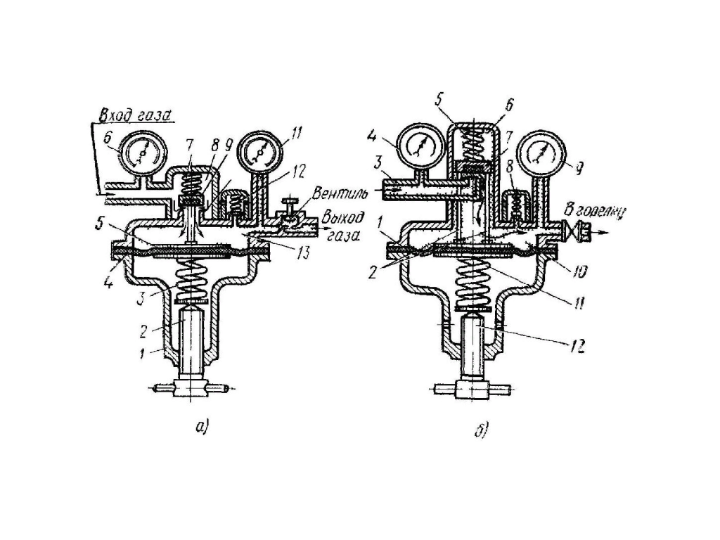
Редуктор обратного действия (рис. 1 а) работает следующим образом. Сжатый газ из баллона поступает в камеру высокого давления 8 и препятствует открыванию клапана 9. Для подачи газа в горелку или резак необходимо вращать по часовой стрелке регулирующий винт 2, который ввертывается в крышку 1. Винт сжимает нажимную пружину 3, которая в свою очередь выгибает гибкую резиновую мембрану 4 вверх. При этом передаточный диск со штоком сжимает обратную пружину 7, поднимая клапан 9, который открывает отверстие для прохода газа в камеру низкого давления 13. Открыванию клапана препятствует не только давление газа в камере высокого давления, но и пружина 7, имеющая меньшую силу, чем пружина 3. Автоматическое поддержание рабочего давления на заданном уровне происходит следующим образом. Если отбор газа в горелку или резак уменьшится, то давление в камере низкого давления повысится, нажимная пружина З сожмётся и мембрана 4 выправится, а передаточный диск со штоком 5 опустится и редуцирующий клапан 9 под действием пружины 7 прикроет седло клапана 10, уменьшив подачу газа в камеру низкого давления. При увеличении отбора газа процесс будет автоматически повторяться. Давление в камере высокого давления 8 измеряется манометром 6, а в камере низкого давления 13 — манометром 11. Если давление в рабочей камере повысится сверх нормы, то при помощи предохранительного клапана 12 произойдет сброс газа в атмосферу.
Помимо однокамерных редукторов применяют двухкамерные, в которых давление газа понижается постепенно в двух камерах редуцирования, расположенных последовательно одна за другой. Двухкамерные (двухступенчатые) редукторы обеспечивают более постоянное рабочее давление и менее склонны к замерзанию, однако они сложнее по конструкции, поэтому двухкамерные (двухступенчатые) редукторы используют тогда, когда необходимо поддерживать рабочее давление с повышенной точностью.
Редукторы прямого действия. В редукторах прямого действия (рис. 1, б) газ через штуцер 3, попадая в камеру высокого давления 6 и действуя на клапан 7, стремится открыть его (а в редукторах обратного действия — закрыть его). Редуцирующий клапан 7 прижимается к седлу запорной пружиной 5 и преграждает доступ газа высокого давления. Мембрана 1 стремится отвести редуцирующий клапан 7 от седла и открыть доступ газа высокого давления в камеру низкого (рабочего) давления 10. В свою очередь мембрана 1 находится под действием двух взаимно противоположных сил. С наружной стороны на мембрану 1 через нажимной винт 12 действует нажимная пружина 11, которая стремится открыть редуцирующий клапан 7, а с внутренней стороны камеры редуктора на мембрану давит редуцированный газ низкого давления, противодействующий нажимной пружине 11. При уменьшении давления в рабочей камере нажимная пружина 11 распрямляется, и клапан уходит от седла, при этом происходит увеличение притока газа в редуктор. При возрастании давления в рабочей камере 10 нажимная пружина 11 сжимается, клапан подходит ближе к седлу и поступление газа в редуктор уменьшается. Рабочее давление определяется натяжением нажимной пружины 11, которое изменяется регулировочным винтом 12. При вывертывании регулировочного винта 12 и ослаблении нажимной пружины 11 снижается рабочее давление и, наоборот, при ввертывании регулировочного винта сжимается нажимная пружина 11 и происходит повышение рабочего давления газа. Для контроля за давлением на камере высокого давления установлен манометр 4, а на рабочей камере — манометр 9 и предохранительный клапан 8.
В практике наибольшее распространение получили редукторы обратного действия как более удобные и безопасные в эксплуатации.
Как работает редуктор для баллона:
1 Прямой редуктор
Обычный простой редукционный аппарат для газа, состоит из двух камер c областью повышенного и низкого давления разделенных между собой резиновой мембраной. Кроме того, “редукционник” оборудован входным и выходным штуцером. Современные приборы сконструированы так, что сильфонная подводка вкручивается прямо в редуктор. Все чаще можно встретить газовый редуктор с третьим штуцером, предназначенным для монтажа мономера.
После подачи газа по шлангу и далее через штуцер он поступает внутрь камеры. Создаваемое газовое давление стремится открыть клапан. С обратной стороны на клапан давит запорная пружина, возвращая его назад на специальное посадочное место, называемое в простонародье “седло”. Возвращаясь на свое место, клапан препятствует бесконтрольному поступлению газа высокого давления из баллона.
Мембрана
Вторая действующая сила внутри редуктора является резиновая мембрана, разделяющая устройство на область высокого и низкого давления. Мембрана выступает “помощником” высокому давлению и в свою очередь стремится приподнять клапан из седла, открывая проход. Таким образом, мембрана находится между двух противоборствующих сил. Одну поверхность поддавливает нажимная пружинка (не путайте с возвратной пружиной клапана), которая хочет открыть клапан, с другой стороны, на нее давит уже прошедший газ в зону низкого давления.
Нажимная пружина имеет ручную регулировку силы нажатия на клапан. Советуем газовый редуктор купить с посадочным местом под манометр, таким образом вам будет легче осуществлять регулировку нажатия пружины до нужных значений давления на выходе.
По мере выхода газа из редуктора к источнику потребления, давление в камере рабочего пространства понижается, давая возможность распрямиться нажимной пружинке. Она то и начинает выталкивать клапан из седла, снова позволяя наполнить прибор газом. Соответственно давление ползет вверх, надавливая на мембрану уменьшая размер нажимной пружинки. Клапан перемещается назад в седло суживая щель, уменьшая наполнение газом редуктор. Далее процесс повторяется до тех пор, пока давление не выравнивается до установленного значения.
Следует признать, что редукторы для газовых баллонов прямого типа ввиду сложной конструкции, не пользуются повышенным спросом, гораздо более широкое распространение нашли редукторы обратного типа, к слову сказать они считаются приборами с высокой степенью безопасности.
2 Обратный редуктор
Функционирование прибора, заключается в противоположном действии описанном выше. Сжиженное голубое топливо подается в камеру где создается высокое давление. Баллонный газ накапливается и мешает клапану открыться. Чтобы обеспечить поступление газа в бытовой прибор, требуется повернуть регулятор по направлению правой резьбы.
С обратной стороны ручки регулятора находится длинный винт, который накручиваясь надавливает на нажимную пружинку. Сжимаясь она начинает изгибать эластичную мембрану в верхнее положение. Таким образом, передаточный диск посредством штока, оказывает давление на обратную пружинку. Клапан приходит в движение, начинает приоткрываться, увеличивая зазор. Голубое топливо устремляется в щель и заполняет рабочую камеру с низким давлением.
В рабочей камере, в газовом шланге и в баллоне давление начинает возрастать. Под действием давления осуществляется распрямление мембраны, содействует ей в этом постоянно сжимающаяся пружинка. В результате, механических взаимодействий передаточный диск опускается ослабляя обратную пружину, которая стремится вернуть клапан на свое посадочное место. Закрывая зазор, естественно поступление газа из баллона в рабочую камеру ограничивается. Далее с понижением давления в сильфоновой подводке запускается обратный процесс.
Одним словом, в результате сдержек и противовесов, качели удается уравновесить и газовый редуктор поддерживает в автоматическом режиме сбалансированное давление, без резких скачков и перепадов.
Общие особенности и дополнительные характеристики
Как было отмечено ранее, редукторы практически не встречаются в чистом виде. Так, вертикальные цилиндрические редукторы чаще всего имеют несколько конических передач, расположенных горизонтально. В червячных редукторах используются двухступенчатые винты с дополнительным выходным валом. Кроме того, все редукторы могут изготавливаться с двух конструктивных вариантах: чисто механические и мотор-редукторы. Последние получили самое широкое распространение и представляют собой единое устройство, совмещающее в себе электродвигатель, редукторный механизм и различные вспомогательные элементы.
Редуктор на газовый баллон
Раз уж мы выбираем редуктор для газового баллона, то считаем необходимым затронуть тему самой емкости. Технологический процесс, и повсеместное внедрение новых инновационных материалов дает свои плоды. На рынке все чаще можно встретить новые композитные баллоны, пришедшие на смену старого поколения. Современные модели, в отличии от устаревших предшественников имеют меньший вес и предлагают больший уровень безопасности. Новейшие технологии изготовления проходят многоуровневую проверку, на полигонах композитный баллон подвергают взрыву, но даже после таких испытаний вы не найдете мелких осколков.

Композитные баллоны не подвержены внутренней коррозии, легкие, удобные. Тем не менее, самостоятельно они не умеют осуществлять равномерную подачу газа. Заправленный баллон, конечно выдает более мощное давление, чем опустошенный на половину. Газовый регулятор придет на помощь, его задача отрегулировать давление на выходе из композитного баллона и поддерживать его на необходимом уровне в течении всего срока пользования.

Хорошую совместную работу с композитными баллонами, показывают газовые редукционники, прошедшие европейскую сертификацию. Выделим один из таких приборов: бытовой газовый редуктор A300i-A310i IGT. К положительным моментам следует отнести следующие характеристики изделия:
- наличие гайки, которую можно закрутить рукой;
- увеличенный до 10 лет срок службы регулирующей мембраны;
- конструкция обеспечивает максимальную герметизацию соединительных элементов;
- газовый шланг на штуцере без резьбы зажимается хомутом.
Несмотря на то, что значение прибора трудно переоценить в создании условий безопасной эксплуатации плиты или другого прибора, бытовые редукторы для газовых баллонов как правило, продаются по приемлемой стоимости. При том,что цена редко превышает 300 -400 рублей, эти приборы способны уберечь от опасных ситуаций не только ваши жилища, но и жизнь.
Выбор газового редукционного аппарата, процесс не сложный, но следует знать и учитывать такие детали как:
- Наименование проходящего сквозь прибор газа;
- Характеристики баллона;
- Размеры, тип гибкой газовой подводки;
- Требуемый расход и давление на выходе;
- Способ подсоединения.






























