Станок 6М82
Горизонтально-фрезерные станки характеризуются горизонтальным расположением шпинделя (рис. 35). На фундаментной плите 1 установлена станина 2, внутри которой размещен механизм главного движения с приводом от электродвигателя 3 и коробки скоростей 4. В вертикальных направляющих станины смонтирована консоль 5, которая может перемещаться вертикально по направляющим станины. На горизонтальных направляющих консоли установлены поперечные салазки 6 поворотная плита 7, а в направляющих последней — продольный (рабочий) стол 5.
Закрепление заготовок на фрезерном станке 6М82
Таким образом, деталь, установленная непосредственно на столе, в тисках или приспособлении, может получить подачу в трех направлениях. Наличие поворотной плиты позволяет в случае необходимости поворачивать рабочий стол в горизонтальной плоскости и устанавливать его на требуемый угол. Некоторые горизонтально-фрезерные станки не имеют поворотной плиты. В этом случае их называют простыми, в отличие от универсальных. Привод подачи стола размещен внутри консоли 5 и состоит из электродвигателя 9, коробки подачи 10 и других механизмов.
Рис. 35. Горизонтально-фрезерный станок 6М82
Закрепление инструмента на станке
Фрезерные патроны и короткие оправки вставляют непосредственно в конусное гнездо шпинделя 11 и закрепляют длинным болтом 1 (шомполом), проходящим через отверстие в шпинделе 2 (рис, 36) 8 Длинные оправки 3 Рис. 35. Горизонтально-фрезерный станок 6М82 60 требуют дополнительной опоры, поэтому один конец ее закрепляют в отверстие шпинделя, а второй располагают в подшипнике подвески 4 хобота. Хобот 12 (см. рис. 35) расположен в верхней части станины 2. В его направляющих установлена подвеска 13 с центром (слева) или с подшипником (справа). На хоботе могут быть закреплены также две поддержки 14, нижние концы которых связаны с консолью. Поддержки служат для увеличения жесткости консоли.
Рис. 36. Прием закрепления патронов и оправок
Кинеметическая схема станка 6М82
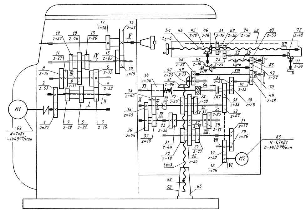
На рис. 37 показана кинематическая схема универсального горизонтально-фрезерного станка 6М82. Привод главного движения заимствуется от электродвигателя 69 и осуществляется 18-ступенчатой коробкой скоростей. Вращение от вала 1 с помощью зубчатых колес 1-2 передается на одну из трех пар колес 3-4, 5-6 или 7-8. Отсюда одна из передачи 9-10, 11-12 или 4-13 сообщает движение валу IV, а последний по цепи колес 14-15 или 16-17 — шпинделю V. Частота вращения шпинделя изменяется переключением колес 3-5-7, 10-13-12 и 14-16.
![]()
Рис. 37. Кинематическая схема универсального горизонтально-фрезерного станка 6М82
Механизм подачи станка 6М82
Привод механизма подачи расположен внутри консоли. Электродвигатель 63 с помощью передач 18-19, 20-21 вращает вал VIII и далее через зубчатые колеса 22-23, 24-25 или 26-27, 27-28, 29-30 или 31-32 вращение передается валу X. Отсюда движение на вал XI может быть передано через пару колес 33-34 (колесо 33 смещается вправо для сцепления с муфтой 75) или через перебор, состоящий из колес 35-36, 37-33 и 33-34 (при этом колесо 33 занимает положение, показанное на схеме). Широкое колесо 34 свободно насажено на вал и передает ему вращение при включении муфты 64. При включении дисковой фрикционной муфты 67 вал XI может получить быстрое вращение, необходимое для осуществления ускоренных ходов. Цепь быстрого вращения состоит из групп передач 18-19, 19-52 и 52-53. Муфты 67 и 64 сблокированы и имеют один орган управления; при включении- первой муфты вторая выключается и наоборот. Подачи стола осуществляются с помощью винтовых механизмов: продольная 54-55, поперечная 56-57 и вертикальная 58-59. Гайка 55 закреплена в верхних салазках, гайка 57 — в консоли, гайка 59 — в тумбе 66. Цепь продольной подачи соединяет вал XI с ходовым винтом 54. Она состоит из передач 38-39, 40-41-42, 43-44, 45-46 (на схеме винт 54 повернут на 90° относительно оси колес 44 и 45; его ось перпендикулярна к плоскости чертежа).
Цепь поперечной подачи состоит из зубчатых колес 38- 39, 40-41-42-47. Цепь вертикальной подачи включает в себя зубчатые колеса 38-39, 40-41, 48-49 и 50-51. Для включения и выключения подач служат муфты 62, 65 и 70.
Меры безопасности при работе на сверлильном станке
Транспортировка, распаковка, монтаж, пуск в работу и эксплуатация должна осуществляться согласно требованиям и инструкций, соответствующих каждому типу выполняемых операций.
Обязательное требование безопасности – заземление. Сопротивление контакта не должно быть больше 0,1 Ом.
Во время и перед началом проводимых работ требуется: зафиксировать головку шпинделя на стойке, инструмент в патроне, заготовку в тисках.
Во время проведения операций категорически запрещено:
- работать при демонтированном защитном кожухе (защиты попадания в ременную передачу);
- сбивать патрон с вращающегося шпинделя;
- руками останавливать устройство для зажима инструмента.
Станок ГС2112 в работе
Внешний вид станка
Максимальное время остановки – 5 секунд. Оснастить защитными надписями места повышенной опасности (кожух ременной передачи). Для увеличения качества освещения рабочей зоны установить дополнительное местное освещение. Минимальный световой поток – 1000 Лк. Перечень полного состава компонентов агрегата электрической и механической частей содержит паспорт на сверлильный станок. Там же содержатся сведения с требованиями по монтажу, выверке и приемке.
Модель 6Н81
Фрезерный станок 6Н81 – это агрегат горизонтального типа, производимый на заводе ДЗФС – предприятия, знаменитого многими успешными инженерными разработками в сфере станкостроения. Эта модель предназначена для качественной обработки чугунных и стальных заготовок, а также деталей, изготовленных из цветных металлов и различных типов пластмассы. 6Н81 позволяет мастеру использовать широкий диапазон режущих инструментов, в том числе фасонные и модульные фрезы.
У мастера есть возможность настроить работу фрезерного станка 6Н81 в соответствии с характером выполняемых работ. Это позволяет сделать довольно широкий диапазон передач шпинделя и вариантов подач рабочего стола, который может перемещаться по трем координатам.
Принцип работы фрезерного станка достаточно прост – заготовка фиксируется на рабочем столе с помощью тисков или других приспособлений, которые могут быть опционально установлены. Если мастеру нужно разделить заготовку на несколько сегментов – может быть задействована в работе универсальная делительная головка.
Специалист может оперативно производить настройку агрегата с помощью удобных механических и ручных перемещений салазок, консоли и стола. Если мастеру предстоит обработка твердой заготовки в тяжелом режиме – есть возможность установить дополнительную связь между хоботом станка и рабочим столом для повышения жесткости всей конструкции.
Рассмотрим основные технические характеристики фрезерного станка 6Н81:
- Мощность электромотора – 4.5 кВт;
- Мощность электрического привода рабочего стола – 1.7 кВт;
- Габариты – 2060х1940х1600 мм;
- Масса – 2100 кг;
- Пределы перемещений рабочего стола в продольном/поперечном/вертикальном направлении – 600/200/350 мм;
- Диапазон расстояний от шпинделя до стола – 30-340 мм;
- Максимальная частота вращения шпинделя – 1800 оборотов в минуту;
- Класс точности по ГОСТ 8-71 и ГОСТ 8-82 – H.
Выводы
Фрезерные станки 6Н81 и 6Н82 во многом схожи по функциональным возможностям и по ряду технических параметров. Их эксплуатационные качества заслуживают похвал, несмотря на то, что техника была спроектирована много десятилетий назад. Сегодня 6Н81 и 6Н82 – это проверенные временем агрегаты, к которым до сих пор проявляют интерес опытные фрезеровщики.

Среди преимуществ этой техники нужно отметить надежность, жесткость конструкции и ремонтопригодность, которая объясняет тот феномен, что эти станки до сих пор функционируют в многочисленных мелких и крупных цехах. Если у вас возникла необходимость в качественном фрезерном оборудовании – 6Н81 и 6Н82 могут стать отличным и недорогим выбором.
Базовые сведения о станке
Станок предназначен для выполнения разнообразных фрезерных работ, главным образом, при изготовлении металлических моделей штампов, пресс-форм для работ в условиях крупносерийного и серийного производства. Станок предназначен для фрезерования всевозможных деталей из стали, чугуна и цветных металлов цилиндрическими, дисковыми, фасонными, угловыми, торцовыми, концевыми и другими фрезами. Возможность настройки станка на различные полуавтоматические и автоматические циклы позволяет успешно использовать станки для выполнения работ операционного характера в поточных и автоматических линиях в крупносерийном производстве.
В станке используется горизонтальный шпиндель при обработке плоскостей торцовыми и цилиндрическими фрезами, возможна раздельная и одновременная работа обоими шпинделями имеется устройство для ограничения зазора в винтовой паре продольного перемещения стола.
На станке можно обрабатывать вертикальные и широкоуниверсальные плоскости, пазы, углы, рамки, зубчатые колеса и т. д
Для обработки различного вида поверхностей, а также крупногабаритных моделей, превышающих по своим размерам габариты стола, шпиндельная головка смонтирована на выдвижном хоботе и может поворачиваться под углом в двух взаимно перпендикулярных плоскостях.
На станке предусмотрен горизонтальный шпиндель, который может быть использован при обработке плоскостей торцовыми и цилиндрическими фрезами.
Предусмотрена как раздельная, так и одновременная работа двумя шпинделями. При установке серег, прилагаемых к станку, станок может быть использован как горизонтально-фрезерный.
Наличие механизма выборки люфта в винтовой паре продольной подачи стола позволяет производить встречное и попутное фрезерование как в простых режимах, так и режимах с автоматическими циклами.
Фрезерование зубчатых колес, разверток, контура кулачков и прочих деталей, требующих периодического или непрерывного поворота вокруг своей оси, производится на данных станках с применением делительной головки или накладного круглого стола.
Смазка направляющих консоли и узла «стол — салазки» осуществляется от плунжерного насоса централизованно. Благодаря эффективной смазке повышается долговечность работы этих узлов, обеспечивается более длительное сохранение первоначальной точности и сокращается время на обслуживание. Шероховатость обработанной поверхности Rz 20 мкм. Класс точности станка П.
Технологические возможности станка могут быть расширены с применением делительной головки, поворотного круглого стола, накладной универсальной головки и других приспособлений.
Первоначальный пуск консольно-фрезерного станка
Перед пуском станка в эксплуатацию внимательно ознакомьтесь с данным руководством, органами управления и значениями графических символов.
Произведите внешний осмотр и проверьте исправность электрооборудования станка, надежность крепления разборных контактных соединений. Удалите предохранительную смазку с магнитных систем электроаппаратов. Освободите подвижные части электроаппаратов от крепежа, установленного на время транспортировки. От механических рукояток проверьте перемещение подвижных узлов станка, снабженных электроприводами.
После внешнего осмотра электрооборудования станка в станции управления на клеммных зажимах отключите провода, питающие электродвигатели, после чего включите вводной выключатель.
При включенном вводном выключателе проверьте действие блокирующих и сигнальных устройств, надежность срабатывания магнитных пускателей и реле.
После проверки работы электрооборудования, без движения узлов станка, подключите и проверьте их фазировку. При правильной фазировке перемещения узлов станка должны соответствовать выбранным направлениям на пульте.
После фазировки электродвигателей произведите проверку работы электрооборудования на всех режимах управления.
На станке возможна работа в трех режимах управления: ручном, толчковом и автоматическом. Выбор режима управления осуществляется переключателем SA3, установленным на основном пульте.
В ручном и толчковом режимах управление приводами станка производится от соответствующих кнопок, причем перемещение стола в толчковом режиме возможно только при воздействии на кнопки. В крайних положениях движения ограничиваются путевыми выключателями.
В автоматическом режиме перемещение узлов станка осуществляется по заданному циклу обработки детали.
Кнопки аварийного отключения SB1 и SB2 расположены на пультах управления и имеют красные грибовидные толкатели с фиксацией в нажатом положении.
Перечень элементов схемы электрической принципиальной приведен в табл.2.
Описание электрооборудования фрезерных станков. Видеоролик.
Список литературы:
Консольно-фрезерные станки 6Р82, 6Р83, 6Р82Г, 6Р83Г, 6Р82Ш, 6Р83Ш, 6Р12, 6Р13, 6Р12Б, 6Р13Б. Руководство по эксплуатации электрооборудования 6Р82.ЭО.000 РЭ1,
Игнатов В.А. Электрооборудование современных металлорежущих станков и обрабатывающих комплексов, 1991
Комаров А.Ф. Наладка и эксплуатация электрооборудования металлорежущих станков, 1975
Розман Устройство, наладка и эксплуатация электроприводов металлорежущих станков, 1985
Чернов Е.А. Комплектные электроприводы станков с ЧПУ, 1989
Харизоменов И.В. Электрическое оборудование металлорежущих станков, 1958
Связанные ссылки. Дополнительная информация
- Фрезерные станки: общие сведения, классификация, обозначение
- Сравнительные характеристики консольно-фрезерных станков серий 6Н, 6М, 6Р, 6Т
- Коробка подач консольно-фрезерных станков серии 6М: 6М12П, 6М13П, 6М82, 6М83, 6М82Ш, 6М83Ш
- Коробка подач консольно-фрезерных станков серии 6Р: 6Р12, 6Р13, 6Р82, 6Р83, 6Р82Ш, 6Р83Ш
- Коробка подач консольно-фрезерных станков серии 6Т: 6T12, 6T13, 6T82, 6T83, 6Т82Ш, 6Т83Ш
- Технология ремонта фрезерных станков
- Регулировка фрезерных станков
- Фрикционная муфта. Фрикционный вал. Муфты фрикционные в металлорежущих станках
- Автоматические циклы фрезерных станков (6Р12)
- Испытания и проверка металлорежущих станков на точность
- Справочник универсальных фрезерных станков
- Заводы производители металлорежущих станков в России
- Производители фрезерных станков в России
Электрооборудование фрезерных станков Горьковского станкозавода, ГЗФС
Электрооборудование фрезерных станков 6T12, 6T13, 6T82, 6Т82Г, 6Т82Ш, 6T83, 6Т83Г, 6Т83Ш
Электрооборудование фрезерных станков 6P12, 6P13, 6Р82, 6Р82Г, 6Р82Ш, 6Р83, 6Р83Г, 6Р83Ш, 6Р12Б, 6Р13Б
Электрооборудование фрезерных станков 6М12П, 6М12ПБ, 6М13П, 6М13ПБ, 6М82, 6М82Ш, 6М82ГБ, 6М83, 6М83Ш
Электрооборудование фрезерных станков 6Т10, 6Т80, 6Т80Г, 6Т80Ш
Электрооборудование фрезерных станков 6Р10, 6Р80, 6Р80Г, 6Р80Ш
Электрооборудование фрезерных станков 6Н10, 6Н80, 6Н80Г, 6Н80Ш
6Р81Г Станок консольно-фрезерный горизонтальный
Характеристики
| Класс точности по ГОСТ 8-71 и ГОСТ 8-82 | Н |
| Размеры рабочей поверхности стола (длина х ширина), мм | 1000 х 250 |
| Наименьшее и наибольшее расстояние от торца шпинделя до стола | — |
| Наименьшее и наибольшее расстояние от оси шпинделя до стола | 50..400 |
| Расстояние от оси шпинделя до хобота, мм | 142 |
| Расстояние от оси вертикального шпинделя до направляющих стойки, мм | — |
| Число Т-образных пазов Размеры Т-образных пазов | 3 |
| Наибольшее перемещение стола продольное (ось X), мм | 630 |
| Наибольшее перемещение стола поперечное (ось Y), мм | 200 |
| Наибольшее перемещение стола вертикальное (ось Z), мм | 350 |
| Наибольший угол поворота стола, град | нет |
| Цена одного деления шкалы поворота стола, град | нет |
| Перемещение стола на одно деление лимба (продольное, поперечное), мм | 0,05 |
| Перемещение стола на одно деление лимба (вертикальное), мм | 0,025 |
| Перемещение стола на один оборот лимба продольное и поперечное, мм | 6 |
| Перемещение стола на один оборот лимба вертикальное, мм | 3 |
| Частота вращения шпинделя, об/мин | 31,5..1600 |
| Количество скоростей шпинделя | 18 |
| Эскиз конца шпинделя | 45 ГОСТ 836-72 |
| Конус шпинделя | 45 |
| Конус поворотного шпинделя | — |
| Быстрый ход стола продольный и поперечный, мм/мин | 3150 |
| Быстрый ход стола вертикальный, мм/мин | 1050 |
| Число ступеней рабочих подач стола | 16 |
| Пределы рабочих подач. Продольных и поперечных, мм/мин | 25..800 |
| Пределы рабочих подач. Вертикальных, мм/мин | 8,3..266,7 |
| Выключающие упоры подачи (продольной, поперечной, вертикальной) | есть |
| Блокировка ручной и механической подачи (продольной) | нет |
| Блокировка ручной и механической подачи (поперечной, вертикальной) | есть |
| Торможение шпинделя (муфта) | есть |
| Предохранение от перегрузки (шариковая пара) | есть |
| Электродвигатель привода главного движения, кВт | 5,5 |
| Электродвигатель привода подач, кВт | 1,5 |
| Электронасос охлаждающей жидкости Тип | Х14-22М |
| Электронасос охлаждающей жидкости, кВт | 0,12 |
| Производительность насоса СОЖ, л/мин | 22 |
| Габариты станка (длина ширина высота), мм | 1480 х 1990 х 1630 |
| Масса станка, кг | 2210 |
Задать вопрос
Данные станки сняты с производства,но мы обязательно подберем для вас аналоги!
Производитель серии фрезерных станков 6Р11, 6Р81, 6Р81Г, 6Р81Ш Дмитровский завод фрезерных станков, основанный в 1940 году.
Перечень органов управления
Станок 6Р82Ш может работать в ручном и автоматическом режимах. В последнем случае дополнительно может быть осуществлено перемещение фрез по замкнутому прямоугольнику, замедление подачи инструмента или заготовки, включение привода подачи смазки и смазочно-охлаждающей жидкости.
В состав органов управления входят:
- Рукоятки для переключения режимов действия механизма подач и коробки скоростей,
- Кнопки включения и выключения узлов,
- Маховички ручного перемещения стола,
- Панель управления режимами вращения шпинделей,
- Рукоятки перемещения подвижной панели,
- Панель управления движением подвижных салазок,
- Кнопки аварийного отключения станка.
Принцип управления работой фрезерного станка марки 6Р82Ш основан на комбинированном использовании показаний цифровых индикаторов (положения стола, шпинделей) и ручного управления основными узлами при помощи градуированных маховичков. Рукоятки предусмотрены на обеих боковых поверхностях стойки. Схема станка допускает его модернизацию с установкой системы автоматизированного управления.

6Н81А Станок консольный фрезерный широкоуниверсальный. Назначение и область применения
Широкоуниверсальный консольно-фрезерный станок 6Н81А с поворотной фрезерной головкой предназначен для обработки небольших изделий из стали, чугуна, цветных металлов и пластмасс цилиндрическими, торцовыми, дисковыми, угловыми и специальными фрезами.
Принцип работы и особенности конструкции станка
Шпиндель станка 6Н81А может поворачиваться в вертикальной плоскости на 115° и занимать горизонтальное, вертикальное и наклонное положение.
При наличии делительной головки на станке 6Н81А можно обрабатывать зубчатые колеса с прямым и спиральным зубом, спиральные сверла, и подобные изделия.
Основные размеры станка соответствуют ГОСТ 165-49, нормы точности соответствуют ГОСТ 154-41, ГОСТ- 155-41.
Станок 6Н81А состоит из следующих узлов:
- Станина;
- Ползун;
- Коробка подач;
- Редуктор;
- Коробка реверса;
- Механизм переключения подач;
- Консоль;
- Стол;
- Охлаждение;
- Смазка;
- Электрооборудование;
- Принадлежности.
Наиболее известные серии консольно-фрезерных станков, выпускаемых ДЗФС:
- серии 6Н: вертикальные — 6Н11; горизонтальные — 6Н81, 6Н81Г, 6Н81А
- серии 6Р: вертикальные — 6Р11; горизонтальные — 6Р81; 6Р81Г; широкоуниверсальные — 6Р81Ш
- серии 6Т: вертикальные — 6Т11, 6Т12
- серии 6К: вертикальные — 6К11 ,6К12 , широкоуниверсальные —6К81Ш, 6К82Ш
- серии 6М: широкоуниверсальные с автоциклами — 6М82Ш
- серии 6Д: вертикальные — 6Д12 , горизонтальные —6Д81, 6Д82; широкоуниверсальные — 6Д81Ш, 6Д82Ш
- серии 6ДМ: вертикальные с ЧПУ 6ДМ13ФЗ, с автоциклами — 6ДМ83Ш, с ЧПУ — 6ДМ83ШФ2
Станки консольно-фрезерные. Общие сведения
Горизонтальные консольно-фрезерные станки имеют горизонтально расположенный, не меняющий своего места шпиндель. Стол может перемещаться перпендикулярно к оси шпинделя в горизонтальном и вертикальном направлениях и вдоль оси, параллельной ей.Универсальные консольно-фрезерные станки отличаются от горизонтальных тем, что имеют стол, который может поворачиваться на требуемый угол.
Вертикальные консольно-фрезерные станки имеют вертикально расположенный шпиндель, перемещающийся вертикально и в некоторых моделях поворачивающийся. Стол может перемещаться в горизонтальном направлении перпендикулярно к оси шпинделя и в вертикальном направлении.
Широкоуниверсальные консольно-фрезерные станки в отличие от универсальных имеют помимо основного горизонтального шпинделя накладную поворотную головку со шпинделем, поворачивающимся вокруг вертикальной и горизонтальной осей.
Бесконсольно-фрезерные станки имеют шпиндель, расположенный вертикально и перемещающийся в этом направлении. Стол перемещается только в продольном и поперечном направлениях.
Консольно-фрезерные станки горизонтальные и вертикальные — это наиболее распространенный тип станков, применяемых для фрезерных работ. Название консольно-фрезерные станки получили от консольного кронштейна (консоли), который перемещается по вертикальным направляющим станины станка и служит опорой для горизонтальных перемещений стола.
Типоразмеры консольно-фрезерных станков принято характеризовать по величине рабочей (крепежной) поверхности стола. Консольно-фрезерные станки могут иметь горизонтальное, универсальное (широкоуниверсальные) и вертикальное исполнение при одной и той же величине рабочей поверхности стола. Сочетание разных исполнений станка при одинаковой основной размерной характеристике стола называют размерной гаммой станков.
В СССР было освоено производство консольно-фрезерных станков пяти типоразмеров: № 0; № 1; № 2; № 3 и № 4, причем по каждому размеру выпускалась полная гамма станков — горизонтальные, универсальные и вертикальные. Каждый станок одной размерной гаммы имел в шифре одинаковое обозначение, соответствующее размеру рабочей поверхности стола.
В зависимости от размера рабочей поверхности стола различают следующие размеры консольно-фрезерных станков:
| Размер | Гамма станков | Размер стола, мм |
| 6Р10, 6Р80, 6Р80Г, 6Р80Ш | 200 х 800 | |
| 1 | 6Н11, 6Н81, 6Н81Г, 6Н81А; 6Р11, 6Р81, 6Р81Г, 6Р81Ш | 250 х 1000 |
| 2 | 6М12П, 6М82, 6М82Г; 6Р12, 6Р82, 6Р82Ш; 6Т12, 6Т82, 6Т82Г, 6Т82Ш | 320 х 1250 |
| 3 | 6М13П, 6М83, 6М83Г; 6Р13, 6Р83; 6Т13, 6Т83, 6Т83Г | 400 х 1600 |
| 4 | 6М14П, 6М84, 6М84Г | 500 х 2000 |
В соответствии с размерами стола меняются габаритные размеры самого станка и его основных узлов (станины, стола, салазок, консоли, хобота), мощность электродвигателя и величина наибольшего перемещения (хода) стола в продольном, салазок в поперечном и консоли в вертикальном направлениях.
Технические характеристики
Паспорт изделия прикладывается к каждому станку, в нем детально прописываются технические характеристики. Масса оборудования составляет 2900 килограмм, понятно, что для домашней мастерской он не подойдет. Мощностью двигателя при этом составляет от 7,5 кВт (в модели 6Р83 показатель начинается от 8 кВт, в этом состоит главное отличие моделей). Максимальны размеры заготовки составляют 8х24х37 сантиметров.
Станок отличается высокими показателями числа оборотов — до 1600 в минуту. Это качество обеспечивается особенностями шпинделя, который имеет 19 скоростей вращения. Это не только помогает достичь хорошего значения числа оборотов, но и варьировать скорости для достижения оптимального результата работы.
Шпиндель по ГОСТу 24644, конус Морзе КМ50. Устройство закрывается специальным шомлотом, а его конец в свою очередь затягивают колпаком.
В коробке передач насчитывается 19 скоростей. При этом есть поперечное и продольное направление до 1250 оборотов в минуту в горизонтальном направлении. В вертикальном, максимальные показатели достигают 416 оборотов за минуту. В поперечном направлении коробка дает перемещение стола на 1 метр в минуту, а в продольном — до 3 метров.
В обязательном порядке проверяют работоспособность пружины фиксатора лимбов, зазоры в подшипниках, предохранительную муфту. Осмотр деталей механизма проводят как минумум раз в три цикла.
Поворотный стол раздвигается на 45 градусов. Это позволяет фиксировать заготовку в удобном положении. В результате обрабатывается труднодоступные части детали.
Технические характеристики фрезерного станка высоки. Его пользуют по основному предназначению как твердосплавный инструментарий.

Горизонтально-фрезерный станок 6Р82Ш | Фрезерные металлорежущие станки
На рис. 96 показана кинематическая схема широкоуниверсального горизононтально-фрезерного станка мод. 6Р82Ш. Привод главного движения (электродвигатель 69 передает вращение шпинделю V следующими переключениями трехблочных зубчатых колес: от вала I колесами 1-2 на вал II, колесами 7 — 8 или 5 — 6 или 3 — 4 на вал ///; затем колесами 11 — 12 или 6-13 на вал IV и далее колесами 16 — 17 или 14 — 15 на шпиндель 5.
Главное движение
Электродвигатель 63 с помощью передач 18-19, 20-21 вращает вал V///, и далее через зубчатые колеса 22 — 23, 24 — 25 или 26-27, 27 — 28, 29-30 или же 31-32 вращение передается валу X. Отсюда движение на вал XI может быть передано через пару колес 33-34 (колесо 33 смешается вправо для сцепления с муфтой 75) или через перебор, состоящий из колес35-36, 37-33 и 33-34 (при этом колесо 33 занимает положение, показанное на схеме). Широкое колесо 34 свободно насажено на вал XI и передает ему вращение при включении муфты 64. При включении дисковой фрикционной муфты 67 вал XI может получить быстрое вращение, необходимое для осуществления ускоренных ходов. Цепь быстрого вращения приводится от электродвигателя 63 и состоит из группы передач 18-19, 19 — 52 и 52 — 53. Муфты 67 и 64 сблокированы: при включении первой муфты вторая выключается, и наоборот. Перемещения стола осуществляются с помощью винтовых механизмов: продольное — 54 — 55, поперечное- 56 — 57 и вертикальное -58-59. Гайка 55 закреплена в верхних салазках, гайка 57 — в консоли, гайка 59 — в тумбе 66.
Движение подачи
Цепь продольной подачи соединяет вал XI с ходовым винтом 54 через передачи 38-39, 40-41-42, 43-44, 45 — 46 (на схеме стол повернут на 90°). Цепь поперечной подачи состоит из зубчатых колес 38 — 39, 40 — 41-42 — 47. Цепь вертикальной подачи включает зубчатые колеса 38 — 39, 40 — 41, 48 — 49 и 50 — 51. Для включения и выключения перемещений стола служат муфты 62, 65 и 70.
Станок оснащен шпиндельной головкой 96, смонтированной на выдвижном хоботе и имеющей привод от электродвигателя 75. Шпиндельная головка может поворачиваться под любым углом в двух взаимно перпендикулярных плоскостях. Она служит для обработки деталей, размеры которых превышают габарит стола. Привод шпиндельной головки расположен внутри хобота. Движение от электродвигателя 75 передается коробке скоростей 76 — 89, обеспечивающей 11 скоростей, а от нее, через ряд конических колес 90 … 95 шпинделю головки.
Рис. 96 Кинематическая схема станка мод. 6Р82Ш
Для привода делительной головки, устанавливаемой на столе, имеется вал 68, приводимый во вращение от гайки 46 через колеса 61-62.






























